



Joint manufacturer, Rotary, Swivel, Ball joint, Syphon hose and more
SYPHON HOSE (SY)
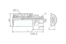
SY is used for recovering Roller having over Ø500 of inside diameter or Drain of Drum. Interlock Hose of stainless is used for product. You can use it at maximum 200℃. Joint part with interior pipe is PT screw. It's recommended to process screw in the opposite to rotation direction. For deciding length, L, please request to the company.

| A | B | L | |
| 6A | 1/8 | 20 | |
| 8A | 1/4 | 20 | |
| 10A | 3/8 | 25 | |
| 15A | 1/2 | 32 | |
| 20A | 3/4 | 40 | |
| 25A | 1 | 45 | |
| 32A | 11/4 | 55 |
















